Устранение коробления и перекосов плит покрытий
Просадки и перекосы плит покрытий - результат потери несущей способности искусственного основания или подстилающего грунта при недостаточном уплотнении в процессе строительства, неравномерной осадке и вымывании оснований из-под покрытия. Смещению плит в вертикальном направлении способствует также пучение грунта зимой. Вертикальные смещение и перекосы плит создают опасные условия для эксплуатации транспорта.
Коробление плит возникает из-за отсутствия свободы их перемещения при температурных напряжениях , а также при некачественном выполнении стыковых соединений между плитами и потери продольной устойчивости.

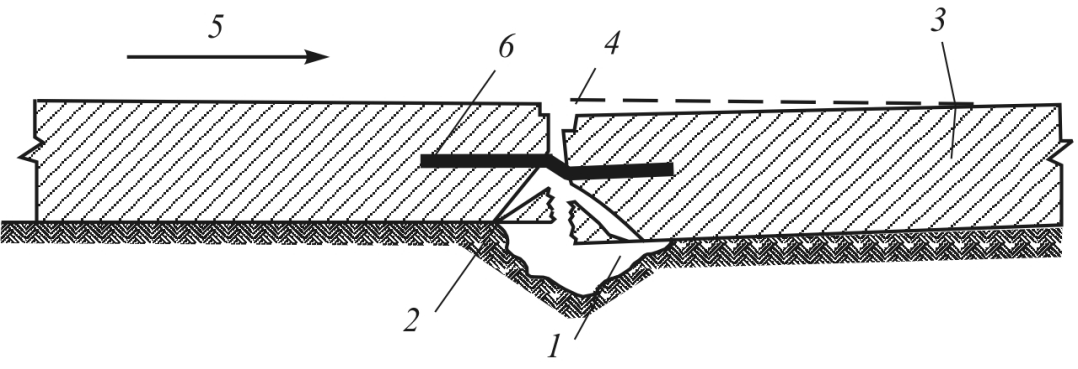
Уступы между бетонными плитами покрытия возникают в связи с подмывом основания поверхностными водами в случае разгерметизации деформационных швов. Также образованию уступов плит способствует неудовлетворительная работа дренажной системы. Также при выполнении работ по замене сборных плит в "окна" в случае исправления основания ввиду его недостаточного уплотнения или набора прочности применяемого пескоцемента. Образование уступов на дорогах оказывает негативное влияние и несёт опасность для эксплуатации. Это выражается в увеличении динамических нагрузок , которые оказывают вредное воздействие на покрытие и на транспортные средства, в нарушении ровности покрытия, образовании сколов, появлении на поверхности продуктов разрушения бетона.

1- деформация основания; 2- разлом; 3- трещина; 4- уступ; 5- направление движение транспортных средств; 6- арматура.
Устранить уступы на дорогах можно несколькими способами: во-первых фрезерованием цементобетонной поверхности ; во-вторых подъемом плиты с закачкой под них быстротвердеющего раствора (метод стабилизации плит инъектированием) или исправлением основания; в третьих за счёт ремонта элементов водосточно-дренажной сети; в-четвёртых удалением разрушенного бетона или части плиты, которая не соответствует показателям ровности, с последующей заменой с применением высокопрочных ремонтных составов и полимербетонов. Для предупреждения и профилактики появления уступов рекомендую устраивать дополнительные компенсационные швы, которые будут гасить температурные напряжения и тем самым препятствовать образованию деформаций в бетоне.
При выборе способа устранения данного рода дефектов очень важно разобраться, что вызвало причину образования дефекта, произвести тщательный анализ погодно-климатических, строительных, конструкционных, эксплуатационных факторов с целью выбора наиболее оптимального варианта решения проблемы и недопущения рецидива.

